施工单位承建了某大桥工程,该大桥桥址位于两山体之间容地,跨越一小河流,河流枯水期水深0.5m左右,丰水期水深2m左右,地面以下地层依次为黏土、砂砾强风化砂岩,该桥基础原设计为40根钻孔灌注桩,桩长12.0~13.8m不等。施工中发生如下事件:
事件一:大桥基础施工时,恰逢河流枯水期且大早无水。施工单位考虑现场施工条件、环保、工期等因素影响,提请将原设计大桥基础钻孔灌注桩全部变更为人工挖孔桩。监理单位与相关部门评估、审定,认为该变更属于对工程造价影响较大的重要工程变更,在履行相关审批程序后,下达了工程变更令。
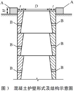
事件二:开工前,施工单位编制了人工挖孔桩专项施工方案,为保证施工安全,人工挖孔桩施工采用分节现浇C25混凝土护壁支护,每节护壁高度为1m,柱孔混凝土护壁形式及结构如图3所示。挖孔施工过程中,发现地层中有甲烷、一氧化碳等气体,施工单位重新修订了专项施工方案。

事件三:桩基础人工挖孔施工中,施工单位采取了如下做法:
(1)挖孔作业时,至少每2h检测一次有毒有害气体及含氧量,保持通风:孔深大于10m时,必须采取机械强制通风措施
(2)桩孔内设有防水灯泡照明,电压为220V
(3)桩孔每开挖2m,深度浇筑混凝土护壁。
【问题】
1.事件一中,监理工程师下达工程变更令之前,须履行哪两个审批程序?
2.图3中,混凝土护壁形式属于外齿式还是内齿式?写出构造物A的名称,说明混凝土护壁节段中设置的管孔B的主要作用。
3.根据《公路工程施工安全技术规范》,图3中标注的D与H的范围是如何规定的?事件二中,为防止施工人员发生中毒窒息事故,挖孔施工现场应配备哪些主要的设备、仪器?
4.事件三中,逐条判断施工单位的做法是否正确?若错误,予以改正。
5.该大桥挖孔桩修订后的专项施工方案是否需要专家论证审查?说明理由。
正确答案及解析
正确答案
解析
1.驻地监理工程师对变更申请的可行性进行评估,并写出初步的审查意见。
监理向业主申报变更得到业主批准;与施工单位协商不超过业主的授权价格范围。
2.混凝土护壁形式属于内齿式。构造物A是护圈。管孔B的作用:导流孔,壁后渗水时,由导流管引导井底,利用井下排水泵排水。
3.D≥1.2m,H≥0.3m。为防止施工人员发生中毒窒息事故,挖孔施工现场应配备防毒面罩、毒害气体检测仪、通风机和风管。
4.(1)正确
(2)错误。改正:桩孔内设有带罩防水灯泡照明,电压为安全电压。
(3)错误。改正:桩孔每开挖1m深度应及时浇筑混凝土护壁。
5.需要组织专家论证审查。理由:虽然人工挖孔桩深度未超过15m,但地层中有甲烷、一氧化碳等有毒有害气体,编制的专项方案需要专家进行论证、审查。
你可能感兴趣的试题
承包人已经提交竣工验收报告,发包人拖延验收的,竣工日期()。
-
- A.以合同约定的竣工日期为准
- B.相应顺延
- C.以承包人提交竣工报告之日为准
- D.以实际通过的竣工验收之日为准
- 查看答案
根据《建设工程质量管理条例》,最低保修期限不低于2年的工程有( )。
-
- A.外墙防渗漏
- B.设备安装
- C.给排水管道
- D.防水工程
- E.装修工程
- 查看答案
关于工程量清单计价方式下竣工结算的编制原则,下列说法中正确的是( )。
-
- A.措施项目费按双方确认的工程量乘以已标价工程量清单的综合单价计算
- B.总承包服务费按已标价工程量清单的金额计算,不应调整
- C.暂列金额应减去工程价款调整的金额,余额归承包人
- D.工程实施过程中发承包双方已经确认的工程计量结果和合同价款,应直接进入结算
- 查看答案
(2019年) 根据《建筑施工企业负责人及项目负责人施工现场带班暂行办法》,属于建筑施工企业负责人的是 ( )。
-
- A.实际控制人
- B.副总工程师
- C.主管经营的副总经理
- D.项目经理
- 查看答案
把施工所需的各种资源、生产、生活活动场地及各种临时设施合理地布置在施工现场,使整个现场能有组织地进行文明施工,属于施工组织设计中( )的内容。
-
- A.施工部署
- B.施工方案
- C.安全施工专项方案
- D.施工平面图
- 查看答案