某机电安装公司承担了某钢厂新厂区压力容器(低合金高强度钢)组焊(如下图),燃气、氧气管道

安装施工,设计要求焊缝进行无损探伤检查,强度试验采用液压试验方法。
施工过程中,发生以下事件:
事件1:压力容器制作全部露天作业,任务还未完成时雨季来临,工期紧迫,不能停止施工;
事件2:管道焊后经探伤发现,焊接合格率偏低,存在很多焊接缺陷。项目部组织人员按质量预控的施工因素进行了分析,经查验,工艺文件已按程序审批,并进行了技术交底。但经进一步检查发现焊条质量不合格。根据分析结果,找出了失控原因,经整改后焊接合格率得到了提高。
【问题】
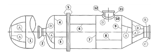
1.指出上图中序号1~12分别是哪类焊接接头。
2.事件1中,编写雨期露天施焊压力容器的质量预控方案。
3.指出施工生产要素中哪些因素失控。焊缝质量问题应如何处理?并说明理由。
4.管道焊接技术交底的重点内容有哪些?
正确答案及解析
正确答案
解析
1.上图中:(1分)
(1)序号1、3、6、8、12为A类焊接接头;(1分)
(2)序号2、4、7、9为B类焊接接头;(1分)
(3)序号5、11为C类焊接接头;(1分)
(4)序号10为D类焊接接头。(1分)
2.编写的质量预控方案为:
(1)工序名称:雨期露天施焊压力容器的质量预控方案;(1分)
(2)可能出现的质量问题:裂纹、气孔、夹渣等;(1分)
(3)提出的质量预控措施:(4分)
1)焊工经过针对性的培训,责任心强;
2)选择合适的焊机以及检定合格并在有效期内的测量器具;
3)选择合适的焊材,并做烘干、保温措施;
4)选择合格的工艺卡,合理的焊接顺序;
5)搭设防雨棚,及时排潮、烘干。
3.(1)管道焊缝出现裂纹主要是焊条质量不合格造成的,属于材料失控。(1分)
(2)对此焊缝质量问题,必须全部返工,并重新检验合格后方可交工。(1分)
因为焊材质量不合格造成的焊缝出现裂纹,是全局性的、致命的质量问题,问题焊缝的化学成分及物理性能都达不到设计要求,必须全部返工。(2分)
4.管道焊接技术交底的重点内容有:
1)材料的检验;(1分)
2)焊接工艺及技术标准、焊接参数、焊接顺序、焊接方法、焊缝形式、位置及质量标准;(3分)3)焊缝无损检测;(1分)
4)焊缝压力试验。(1分)
你可能感兴趣的试题
根据《招标投标法实施条例》,视为投标人相互串通投标的情形有( )。
-
- A.投标人之间协商投标报价
- B.不同投标人委托同一单位办理投标事宜
- C.不同投标人的投标保证金从同一单位的账户转出
- D.不同投标人的投标文件载明的项目管理成员为同一人
- E.投标人之间约定中标人
- 查看答案
某建设工程项目中标人与招标人签订合同并备案的同时,双方针对结算条款签订了与备案合同完全不同的补充协议。后双方因计价问题发生纠纷,遂诉至法院。法院此时应该( )作为结算工程款的依据。
-
- A.双方达成的补充协议
- B.双方签订的备案合同
- C.类似项目的结算价格
- D.市场的平均价格
- 查看答案
关于施工图预算和施工预算的说法,错误的是( )。
-
- A.施工预算的材料消耗量一般低于施工图预算的材料消耗量
- B.施工预算是施工企业内部管理的一种文件,与建设单位无直接关系
- C.施工预算的用工量一般比施工图预算的用工量低
- D.施工图预算中的脚手架是根据施工方案确定的搭设方式和材料计算的
- 查看答案
根据《中华人民共和国招标投标法》及相关法规,对必须招标的项目,招标人行为符合要求的是( )。
-
- A.就同一招标项目向潜在投标人提供有差别的项目信息
- B.委托两家招标代理机构,设置两处报名点接受投标人报名
- C.以特定行业的业绩、奖项作为加分条件
- D.限定或者指定特定的品牌
- 查看答案
关于建设工程管理内涵的说法,正确的是( )。
-
- A.建设工程项目管理和设施管理即为建设工程管理
- B.建设工程管理不涉及项目使用期的管理方对工程的管理
- C.建设工程管理是对建设工程的行政事务管理
- D.建设工程管理工作是一种增值服务
- 查看答案